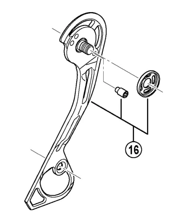
Replacement outer guide for Shimano Deore RD-M615-SGS derailleurs.
Sale!
Shimano Outer Plate (for Deore RD-M615)
Original price was: $5.73.$4.01Current price is: $4.01.
- Expertly Sourced, Quality Guaranteed
- Efficient and effective customer service, online.
- Free and fast shipping worldwide
- Safe Transactions, Always













Reviews
There are no reviews yet.